articol recuperat si postat in 01.2016

Avertizor lipsa apa in rezervorul pentru parbriz


     Acest montaj poate si util in cazul in care avem probleme cu pompita care stropeste parbrizul, in sensul ramanerii fara apa cand se termina apa din rezervor.. trebuie sa umplem rezervorul si pompita

     Un mod cat de cat realistic de cum arata un sistem de stropire a parbrizului este urmatorul:

     Prima varianta indica prin aprinderea unui LED la bord lipsa apei din rezervorul pompitei.



AICI gasiti cablajul la scara 1:1

...aceasta indica prezenta apei prin aprinderea LED-ului de la bord:




AICI gasiti cablajul la scara 1:1

     Daca tot am ajuns la stadiul asta, cred ca util ar fi sa intrerupa si circuitul pompei, pe langa aprinderea LED-ului din bord.





AICI gasiti cablajul la scara 1:1

     O varianta mai eleganta este aceea in care folosim un integrat CMOS tip 4093 (CD4093/MMC4093) care contine 4 porti SI-NU (NAND) trigger Schmitt.




AICI gasiti cablajul la scara 1:1

     Pentru a putea intelege modul de functionare al schemei, realizam tabelul de adevar:

     Cand senzorul este in apa, adica avem A=0 datorita faptului ca rezistenta apei este mult mai mica decat a rezistentei R1, vom avea la iesirea primei porti SI-NU (NAND) B=1, a doua poarta inverseaza semnalul de la intrarea ei deci C=0, in acest caz oscilatorul realizat cu poarta a 3-a este blocat, deci pe iesire va avea D=0 si in punctul E vom avea potential mare, aproape de tensiune de alimentare (tranzistor blocat) si LED-ul va fi stins.

     Cand in vas apa a scazut sub nivelul senzorului, vom avea A=1, deci B=0, C=1 si acum oscilatorul va "porni" deci in punctul D vom avea impulsuri dreptunghiulare si astfel tranzistorul se deschide cand pe baza lui va fi tensiune si implicit LED-ul se va aprinde.. in ritmul impulsurilor (aproximativ la 1 secunda); deci vom fi avertizati optic ca nu mai avem apa in rezervor.

     Putem "complica" putin schema, adaugandu-i un tranzistor si un releu, care sa intrerupa circuitul de alimentare al motorasului pompei.



AICI gasiti cablajul la scara 1:1

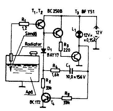
     In cartea Electronica auto scrisa de Andrei Ciontu & Stefan Iancu si aparuta la Editura Teora am gasit la pag.170..171, articolul Controlul electronic al nivelului apei in radiator, unde sunt 2 scheme:



     Prima schema, indica prin aprinderea becului (12V/100mA) existenta apei in radiator, iar cea de-a doua indica lipsa apei (scaderea nivelului sub sonda) prin aprinderea cu intermitenta a becului (aprox. 2Hz, in functie de grupul R4 & c1).

completare in 02.08.2010:

     Augustin a realizat schema


si a constat ca dintr-o eroare a mea, schema aprinde permanent LED-ul cand este apa, respectiv il aprinde cu intermitenta cand lipseste apa..

     Am corectat schema si a rezultat:

   Montajul realizat de Augustin arata asa:


Intoarcere la pagina principala